-
Focus: Case Studies
20 July 2017We look at seen projects in detail from home and abroad and the joys and challenges they brought to the interior design practices involved
-
Focus: Project Interviews
19 July 2017Three leading designers from practices Arney Fender Katsalidis, SHH and Conran and Partners take us through recent projects and the considerations they required
-
Design Frontiers comes to Somerset House
18 July 2017On the 18-24 September, Somerset House will be opening its doors to 30 international designers and leaders of the industry in a new group exhibition called Design Frontiers.
-
Cultural Pursuits
18 July 2017Pamela Buxton reviews new extensions, redesigns and renovations to some of the country’s leading museums and galleries
-
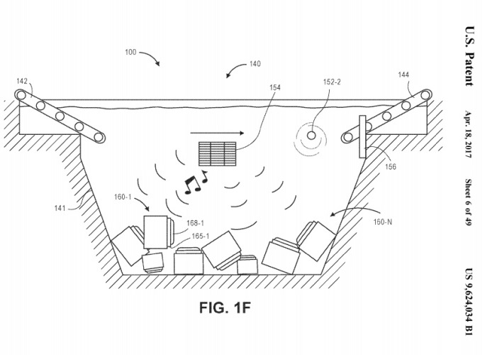
Amazon's new patent wants to see products stored underwater
14 July 2017Online retailer giant Amazon, has come up with another way to meet consumer’s increasing demands: An underwater warehouse.
-
What's not to be missed at the 2017 London Design Fair
13 July 2017From the 21st to 24th September London invites the international design community to the 2017 London Design Fair in Shoreditch. Bringing together the largest collection of exhibitions, designers, brands, country pavilions and galleries, the fair invites guest to showcase their best work.
-
Brief Encounters - Royal Academy of Engineering's new Enterprise Hub
13 July 2017Veronica Simpson visits the Royal Academy of Engineering to discover how it has made its commitment to mentoring young engineer entrepreneurs more than virtual with its new £4.1m Enterprise Hub.
-
FX talks: Sir Jonathon Porritt 'A time for radical disruption'
12 July 2017“Think about yourselves as competitors in the greatest race that the human species has ever known."
-
An interview with Zachary Eastwood-Bloom: The artist swapping his scalpel for a computer
12 July 2017Zachary Eastwood- Bloom is a ceramics specialist who also co-founded the Manifold Studio in East London. Zachary brings a modern edge to traditional sculpting using techniques such as 3D printing and CC milling to cut shapes into materials like marble, wood, and clay. His technique creates an effect which successfully brings the past into the present and toes the line between technology and design.
-
Creative Wales
12 July 2017A host of benefits - good broadband connectivity, cheap spaces and beautiful countryside - are working to lure creatives and innovative businesses to Wales. Veronica Simpson reports
