-
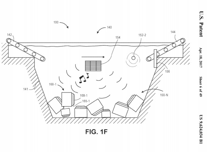
Amazon's new patent wants to see products stored underwater
on 14 July 2017Online retailer giant Amazon, has come up with another way to meet consumer’s increasing demands: An underwater warehouse.
-
What's not to be missed at the 2017 London Design Fair
on 13 July 2017From the 21st to 24th September London invites the international design community to the 2017 London Design Fair in Shoreditch. Bringing together the largest collection of exhibitions, designers, brands, country pavilions and galleries, the fair invites guest to showcase their best work.
-
FX talks: Sir Jonathon Porritt 'A time for radical disruption'
on 12 July 2017“Think about yourselves as competitors in the greatest race that the human species has ever known."
-
DesignCurial in conversation: Florian Wupperfeld
on 12 July 2017Florian Wupperfeld is an art lover, an explorer and a culture addict. He is also the founder of Leading Culture Destinations, a company changing the face of tourism one museum at a time.
-
An interview with Zachary Eastwood-Bloom: The artist swapping his scalpel for a computer
on 12 July 2017Zachary Eastwood- Bloom is a ceramics specialist who also co-founded the Manifold Studio in East London. Zachary brings a modern edge to traditional sculpting using techniques such as 3D printing and CC milling to cut shapes into materials like marble, wood, and clay. His technique creates an effect which successfully brings the past into the present and toes the line between technology and design.
-
FX Talks: Michael Pawlyn on the role of nature in architecture
on 11 July 2017Would you believe that it is possible for a building to be designed based off the inner workings of a fish? No, How about a camel?
-
An interview with YOU&ME Architecture
on 10 July 2017YOU &ME architecture recently won the London Festival of Architecture competition for new creative workspace and improved connections beneath and around the Silvertown flyover, in the Royal Docks area of Newham, east London.
-
Sight-loss app helps designers create buildings
on 10 July 2017For many of us the idea of losing our sight is a devastating one, sadly for some people in the world, it is their reality.
-
Five of the most legendary hotels in the world
on 10 July 2017After four long years of no-expenses spared refurbishment, the glamorous Hôtel de Crillon in Paris has opened its doors.
-
Top five colourful buildings in the western world
on 7 July 2017If you take a second to glance up at the London Sky Line, while you may be met with some beautiful buildings you won’t see much colour. In fact, visit any major city in England, or any western country for that matter, and you will be met with a sea of monochrome architecture.
